福建海灣JTG-ZM-GST9614隔爆型紫外火焰探測器




一、福建海灣JTG-ZM-GST9614點型紫外火焰探測器概述:
福建海灣JTG-ZM-GST9614點型紫外火焰探測器(以下簡稱探測器)為感光型火災探測器,它通過探測物質燃燒所產生的紫外線來探測火災,適用于火災發生時易產生明火的場所,對發生火災時有強烈的火焰輻射或無陰燃階段的火災以及需要對火焰做出快速反應的場所均可采用本探測器。

探測器有編碼和非編碼兩種工作模式。
探測器與我公司生產的福建火災報警控制器以總線方式連接時,探測器工作在編碼模式,探測器從總線獲取電源并通過總線傳遞信息。
探測器與DC24V電源連接時,探測器工作在非編碼模式,探測器通過輸出不同的電阻值向外傳遞信息。
探測器的防爆性能符合GB3836.1-2000《爆炸性氣體環境用電氣設備第1部分:通用要求》及GB3836.2-2000《爆炸性氣體環境用電氣設備第2部分:隔爆型“d”》標準的要求,同時還滿足GB12791-2006《點型紫外火焰探測器》中的各項要求。
本探測器適用于爆炸危險場所的1區、2區,可根據現場環境選用。
二、福建海灣JTG-ZM-GST9614點型紫外火焰探測器特點:
1、JTG-ZM-GST9614點型紫外火焰探測器內置單片機,由單片機進行信號處理及與福建火災報警控制器通訊。
2、采用智能算法,既可以實現快速報警,又可以降低誤報率。
3、三級靈敏度設置,適用于不同干擾程度的場所。
4、傳感部件選用技術先進的紫外光敏管,具有靈敏度高,性能可靠,抗粉塵污染、抗潮濕及抗腐蝕能力強等優點。
5、采用鋁合金外殼,外形美觀簡潔,體積小,重量輕,具有較好的機械強度。
三、福建海灣JTG-ZM-GST9614點型紫外火焰探測器技術特性:

(1) 工作電壓:
編 碼模式:額定工作電壓:總線 24V
電壓允許范圍:總線 16V~28V
非編碼模式:額定工作電壓:DC24V
電壓允許范圍:DC20V~DC28V
(2) 工作電流:
編 碼模式:監視電流≤2mA 報警電流≤3mA
非編碼模式:監視電流≤13mA 報警電流≤23mA
(3) 指示燈:報警確認燈,紅色,監視狀態閃亮,火警時常亮
(4) 光譜響應范圍:185nm~260nm
(5) 探測角度≤1200
(6) 探測距離:探測器設有二個靈敏度級別,不同的靈敏度級別對應著不同的探測距離。對于放置于底面積為 33cm×33cm,高為 5cm 的容器中的 2000g 工業乙醇(乙醇含量 90%以上)燃燒產生的火焰:Ⅱ級,17m;Ⅲ級,12m
(7) 外殼防護等級:IP66
(8) 使用環境:
溫度:-20℃~+60℃
相對濕度≤95%,不結露
(9) 外形尺寸:
180.5mm×144mm×133mm
在下列情形的場所,不宜使用本探測器
1.可能發生無焰火災;
2. 在火焰出現前有濃煙擴散;
3.探測器的“視線”易被遮擋;
4.探測器易受陽光直接或間接照射;
5. 現場有較強紫外線光源,如鹵鎢燈等;
6.在正常情況下有明火、電焊作業以及 X 射線、弧光、火花等影響。
四、福建海灣JTG-ZM-GST9614點型紫外火焰探測器結構特征、安裝與布線 :
探測器外殼零件采用鋁合金制成,含鎂量小于 6%,有足夠的機械強度,經水壓試驗 1.5Mpa,歷時 10s 無滴水和
變形,能承受 7J 沖擊能量,更高
表面溫度不超過 85℃。探測窗口采用石英玻璃,可透過紫外線,能承受 2J 沖擊能量。探測器外形結構如圖 1所示:

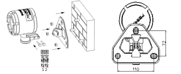
探測器的安裝方式有兩種,一種是安裝在墻壁上,另一種是安裝在頂棚上。探測器附件備有卡箍和壁板,用于探測器的安裝,卡箍和壁板結構示意圖如圖 2所示。壁板用三個 M6?60 的膨脹螺栓直接固定在墻壁或者頂棚上,卡箍用來連接探測器和壁板。 通過調節探測器和卡箍,可以使探測器向上轉動 18°,向下轉動 50°,左右轉動各 90°。安裝時,先把卡箍套在探測器的支撐軸上,然后通過固定螺栓 1 將卡箍連接到壁板上,接好探測器連接線。調節探測器和卡箍,使探測器正對被保護區域,然后擰緊固定螺栓 1 和固定螺栓 2,將探測器固定好。

探測器接線端子如圖 3所示:

其中:
Z1、Z2:編碼模式時接福建火災報警控制器總線,無極性。
非編碼模式時接 DC24V 電源,無極性。
K1、K2:只用于非編碼模式,通過輸出不同的電阻值表示不同的狀態:火警狀態短路;正常狀態為 4.7kΩ;故障狀態斷開。
布線要求:
現場布線采用截面積大于等于 1mm2,外徑為φ8 mm 的屏蔽阻燃電纜,接線步驟如下:
(1)旋下探測器后蓋和接線壓緊螺母;
(2)將電纜線依次穿過壓緊螺母、金屬墊圈、橡膠密封圈,留出適當的長度;
(3)將電纜線剝去外皮留出金屬導線 5mm,將橡膠密封圈、金屬墊圈、壓緊螺母連同電纜一同旋進探測器殼體,用扳手將壓緊螺母旋緊為止;
(4)將電纜的金屬線頭與探測器接線端子對應相接,將電纜的屏蔽接入探測器外殼內部保護地接線處;
(5)將探測器后蓋用工具旋緊,從探測器外殼保護地接線處將探測器外殼接入保護地;
(6)檢查探測器后蓋、電纜壓緊螺母確定已旋緊,然后可進行控制器端的接線。
安裝完成后需做如下檢查:
(1)外殼表面應無裂紋、孔洞,底殼、后蓋連接牢固;
(2)探測窗無劃傷、裂紋;
(3)進線口處應有密封圈;
(4)密封圈與電纜線徑吻合;
(5)進線口鎖緊螺母已鎖緊;
(6)接地標識處有接地線。
遮光罩的選用
對于現場有陽光直射或反射到紫外探測器的情況,可考慮使用遮光罩:
a) 半遮罩
能遮擋來自探測器上方的光線,適用于探測器壁掛安裝并對斜下方進行火焰探測報警的情況。該遮光罩直接固定于探測器殼體上,安裝示意圖如圖4所示:

b) 全遮罩
能遮擋來自探測器視窗四面的光線,適用于探測器吸頂安裝并對正下方進行火焰探測報警的情況。該遮光罩直接固定于探測器殼體上,安裝示意圖如圖 5所示,注意此時探測器的保護面積有所變化,可按公式πh2tg2а計算,其中安裝高度 h 更好
小于 10 米。
